环保之家论坛

 找回密码
 立即注册

QQ登录

只需一步,快速开始

搜索
热搜: 活动 交友 discuz
查看: 1354|回复: 0

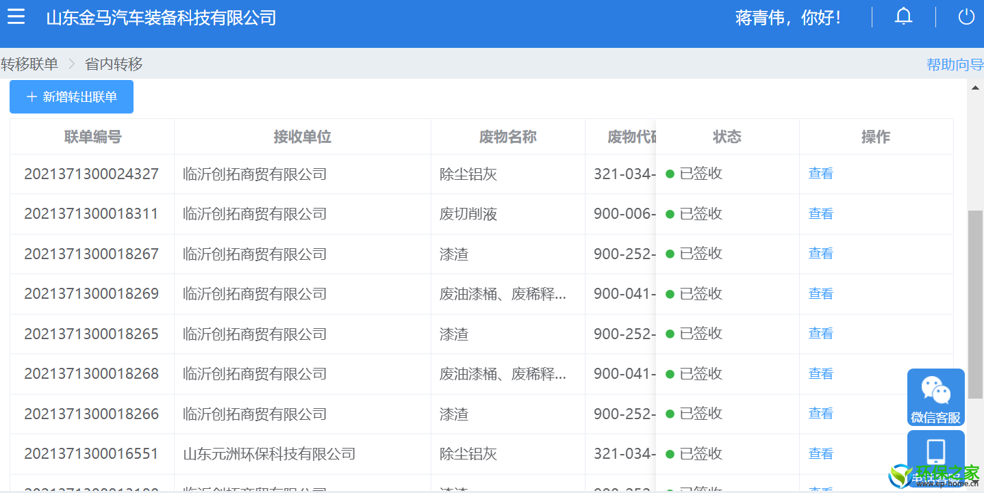
[其他] 山东金马汽车装备科技有限公司危险废物转移信息公示

[复制链接]

144

主题

0

回帖

266

积分

中级会员

Rank: 3Rank: 3

积分
266
发表于 2021-12-18 20:43:40 | 显示全部楼层 |阅读模式
山东金马汽车装备科技有限公司危险废物转移信息公示
c43f5d44c5ae4289920ef6d4e97f0c5.png
9ca79ae6cabf913b30ffacab528ace2.png
回复

使用道具 举报

您需要登录后才可以回帖 登录 | 立即注册

本版积分规则

QQ|Archiver|手机版|小黑屋|环保之家论坛 ( 粤ICP备20048911号 )

GMT+8, 2025-11-22 14:20 , Processed in 0.042688 second(s), 22 queries .

Powered by Discuz!

© 2020-2024 环保之家www.ep-home.cn.

快速回复 返回顶部 返回列表